
O Adv7401kstz-140 é um decodificador de vídeo sofisticado e um digitalizador gráfico RGB de dispositivos analógicos, projetados para lidar com vários formatos de vídeo, incluindo PAL, NTSC e Secam, e convertê-los em um formato digital ITU-R BT.656.Este chip se destaca por sua capacidade de decodificar sinais de vídeo RGB/YPRPB e digitalizar gráficos RGB com resoluções de até 1280 × 1024 a 75 Hz (SXGA).É capacitado por quatro ADCs de 10 bits que operam a taxas de amostragem de até 140 MHz, garantindo uma saída de vídeo de alta qualidade para aplicações exigentes.A família ADV7401 inclui vários modelos como o ADV7401BSTZ-110 e o ADV7401BSTZ-80, que suportam taxas de amostragem máxima mais baixas de ADC de 110 MHz e 80 MHz, respectivamente, permitindo selecionar um modelo alinhado com seus requisitos específicos de resolução e desempenho.Essa flexibilidade torna a primeira opção ADV7401 Série A que exige recursos robustos de processamento de vídeo.
Se você deseja aumentar sua formação de produtos com a decodificação de vídeo de alto desempenho, recomendamos que você faça um pedido em massa conosco para o ADV7401KSTZ-140.

|
PIN No. |
Mnemônico |
Tipo |
Função |
|
5, 11, 17, 40, 89 |
DGND |
G |
Terra digital. |
|
49, 50, 66 |
AGND |
G |
Terreno analógico. |
|
6, 18 |
DVDDIO |
P |
Tensão de fornecimento de E/S digital (3,3 V). |
|
12, 39, 90 |
DVDD |
P |
Tensão de alimentação do núcleo digital (1,8 V). |
|
63 |
Avdd |
P |
Tensão de alimentação analógica (3,3 V). |
|
47, 48 |
Pvdd |
P |
Tensão de alimentação PLL (1,8 V). |
|
51 |
Fb |
EU |
Entrada de sobreposição de interruptor rápido.Este pino muda entre CVBS
e sinais analógicos RGB. |
|
54, 56, 58, 72, 74, 76, 53, 55, 57, 71, 73, 75 |
Ain1 a Ain12 |
EU |
Canais de entrada de vídeo analógicos. |
|
42, 41, 28, 27, 26, 25, 23, 22, 10, 9, 8, 7, 94, 93, 92,
91 |
P2 a P9, P12 a P19 |
O |
Porta de saída de pixel de vídeo. |
|
33, 32, 31, 30, 29, 24, 14, 13 |
P22 a P29 |
E/S. |
Porta de entrada/saída de vídeo. |
|
44, 43, 21, 20, 45, 34, 2, 1, 100, 97, 96, 95, 88, 87,
84, 83 |
P0 a P1, P10 a P11, P20 a P21, P31 a P40 |
EU |
Porta de entrada de pixel de vídeo. |
|
3 |
Int |
O |
Interromper.Este pino pode ser baixo ativo ou ativo alto.
Quando os bits de status SDP/CP alteram este pino acionadores.O conjunto de eventos que
Gatilhos Uma interrupção está sob controle do usuário. |
|
4 |
HS/CS |
O |
HS é um sinal de saída de sincronização horizontal (SDP e
Modos CP).CS é um sinal de sincronização composto digital (e pode ser
selecionado enquanto estiver no modo CP). |
|
99 |
Vs. |
O |
Sinal de saída de sincronização vertical (SDP e CP
modos). |
|
98 |
Campo/de |
O |
Sinal de saída de sincronização de campo (todos os vídeos entrelaçados
modos).Este pino também pode ser ativado como um sinal de habilitação de dados (DE) no modo CP
Para permitir a conexão direta a um IC HDMI/DVI TX. |
|
81, 19 |
SDA1, SDA2 |
E/S. |
I²C PINS DADOS SÉRIOS DA PORTA INTS.SDA1 é os dados
linha para a porta de controle e sda2 é a linha de dados para o readback do VBI
porta. |
|
82, 16 |
SCLK1, SCLK2 |
EU |
Entrada do relógio serial da porta da porta I²C (taxa máxima de relógio de 400 kHz).
Sclk1 é a linha do relógio para a porta de controle e Sclk2 é a linha do relógio para
a porta de readback de dados do VBI. |
|
80 |
ALSB |
EU |
Este pino seleciona o endereço I²C para o controle ADV7401
e portas de readback do VBI.ALSB definido como lógica 0 define o endereço para uma gravação para
Porta de controle de 0x40 e o endereço de readback para a porta VBI de 0x21.ALSB
Defina como uma lógica alta define o endereço para uma porta de gravação para controlar 0x42 e
O endereço de readback para a porta VBI de 0x23. |
|
78 |
REINICIAR |
EU |
Redefinir o sistema de entrada, ativo baixo.Um pulso mínimo de redefinição
A largura de 5 ms é necessária para redefinir o circuito ADV7401. |
|
36 |
LLC1 |
O |
LLC1 é um relógio de saída com bloqueio de linha para os dados do pixel
(A faixa é de 12,825 MHz a 140 MHz para Adv7401kstz-140; 12,825 MHz a 110 MHz
para adv7401bstz-110;12,825 MHz a 80 MHz para Adv7401bstz-80). |
|
38 |
XTAL |
EU |
Pino de entrada para o cristal de 28.63636 MHz, ou pode ser
Overdividado por uma fonte externa de 3,3 V 28.63636 MHz do oscilador de relógio para relógio
O ADV7401. |
|
37 |
XTAL1 |
O |
Este pino se conecta ao cristal de 28.63636 MHz ou permite
Uso de uma conexão com um oscilador de relógio de 3,3 V 28.63636 MHz para ser usado como um
Relógio para o ADV7401.No modo cristalino, o cristal deve ser fundamental. |
|
46 |
ELPF |
O |
O filtro de loop externo recomendado deve ser conectado a
Este pino ELPF. |
|
70 |
Teste0 |
NC |
Este pino deve ser deixado desconectado ou amarrado alternativamente
para agnd. |
|
59 |
Test1 |
O |
Este pino deve ser deixado desconectado. |
|
15 |
Sfl/sync_out |
O |
Bloqueio de frequência da subportadora (SFL).Este pino contém um
fluxo de saída serial que pode ser usado para bloquear a frequência da subportadora quando
Este decodificador está conectado a qualquer codificador de vídeo digital de dispositivos analógicos.
Sync_Out é o sinal de saída de sincronização fatiado disponível apenas no modo CP. |
|
64 |
Refout |
O |
Saída de referência de tensão interna. |
|
65 |
CML |
O |
Pino de nível de modo comum (CML) para os ADCs internos. |
|
61, 62 |
Capy1, Capy2 |
EU |
Rede de capacitores ADC. |
|
68, 69 |
CAPC1, CAPC2 |
EU |
Rede de capacitores ADC. |
|
67 |
VIÉS |
O |
Pino de configuração de viés externo.Conecte o recomendado
Resistor (1,35 kΩ) entre o pino e o aterramento. |
|
86 |
Hs_in/cs_in |
EU |
Pode ser configurado no modo CP para ser um HS digital
sinal de entrada ou um sinal de entrada CS digital usado para extrair o tempo em um fio de 5 fios
ou modo RGB de 4 fios. |
|
85 |
Vs_in |
EU |
Vs sinal de entrada.Usado no modo CP para o modo de tempo de 5 fios. |
|
79 |
De_in |
EU |
Os dados ativam o sinal de entrada.Usado em entrada digital de 24 bits
Modo de porta (por exemplo, processamento de dados RGB de 24 bits de um IC DVI RX). |
|
35 |
Dclk_in |
EU |
Sinal de entrada do relógio.Usado no modo de entrada digital de 24 bits
(por exemplo, processamento de dados RGB de 24 bits de um DVI RX IC) e também em
Modo de entrada CVBS digital. |
|
52 |
SOG |
EU |
Sincronizar sobre entrada verde.Usado no modo de sincronização incorporado. |
|
77 |
SOJA |
EU |
Sincronizar na entrada do Luma.Usado no modo de sincronização incorporado. |
• Conversão analógica em digital de alta velocidade: O ADV7401KSTZ-140 está equipado com quatro conversores analógicos para digitais de 10 bits (ADCs) que podem operar a taxas de amostragem de até 140 MHz.Esse recurso permite digitalizar sinais de vídeo de alta resolução de maneira eficaz, tornando-o adequado para aplicativos avançados de processamento de vídeo.
• Multiplexador de entrada analógica versátil: Este dispositivo possui um multiplexador de entrada analógica de 12 canais, que inclui suporte rápido em branco do SCART.Essa funcionalidade permite alternar entre várias fontes de vídeo analógicas perfeitamente, acomodando diversos requisitos de entrada para sistemas de vídeo.
• Suporte padrão de vídeo abrangente: O ADV7401KSTZ-140 suporta uma ampla gama de padrões de cores de vídeo, incluindo NTSC, PAL e Secam.Ele também pode processar formatos de vídeo componentes como 525p, 625p, 720p e 1080i, garantindo a compatibilidade com vários formatos e resoluções de vídeo globais.
• Digitalização gráfica: Capaz de digitalizar gráficos RGB até resoluções de 1280 × 1024 a 75 Hz (SXGA), o ADV7401KSTZ-140 é ideal para aplicações que requerem processamento gráfico de alta resolução, como sistemas de vigilância avançada e sinalização digital.
• Conversão avançada de espaço de cores: O dispositivo incorpora uma matriz de conversão de espaço de cores 3 × 3 que facilita a conversão flexível entre diferentes espaços de cores, como YCRCB em RGB e vice-versa.Esse recurso é ótimo para manter a precisão e a qualidade das cores em aplicativos multimídia.
• Porta de entrada digital: O ADV7401KSTZ-140 inclui uma porta de entrada digital de 24 bits que suporta dados do DVI/HDMI Receiver ICS.Esse recurso aprimora a compatibilidade do chip com as modernas fontes de vídeo digital, permitindo que ele seja integrado a uma ampla gama de sistemas multimídia digital.
• Interfaces de saída programáveis : Oferece uma interface de saída programável que pode ser definida como formatos de saída de pixels de pixel de 12 bits 4: 4: 4 ou 8 bits 4: 2: 2 Taxa de dados duplos (DDR).Essa flexibilidade garante que a saída possa ser adaptada para atender às necessidades específicas de aplicação, seja para equipamentos de transmissão ou eletrônicos.

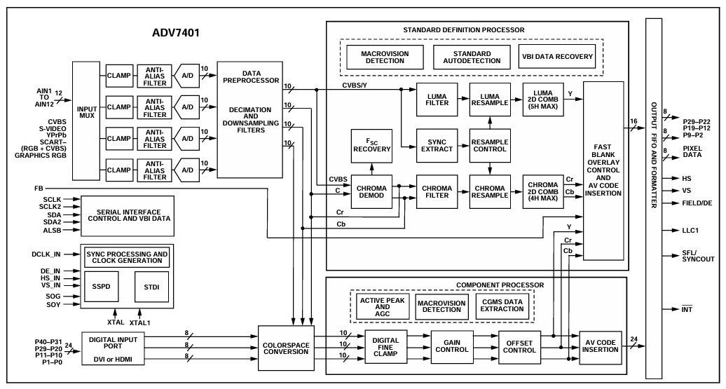
O diagrama do Adv7401kstz-140 Ilustra os blocos funcionais internos desse decodificador e digitalizador de vídeo avançado, destacando como ele processa vários sinais de vídeo analógicos na saída digital.O chip suporta vários formatos de entrada, como CVBS, Assim, S-video, Assim, YPBPR, e Rgb, todos roteados através do MUX de entrada que seleciona entre as 12 entradas analógicas (AIN1 para AIN12).Cada sinal selecionado passa por um Grampo e Filtro anti-alias Para preparar o sinal para digitalização por um dos conversores analógicos para digitais de 10 bits (A/D).
Uma vez digitalizado, os sinais são processados no Pré -processador de dados, que inclui Dizimação e Filtros de downsampling Para reduzir as taxas de dados e preparar sinais para um processamento digital adicional.Dependendo do tipo de entrada, o vídeo pode ser processado através do Processador de definição padrão ou o Processador de componentes.O Sd Processador lida com sinais compostos e s-video, executando tarefas como Demodulação de Chroma, Assim, Filtragem luma e croma, Assim, Filtragem de pente, e Reamostragem, garantindo uma clara separação de componentes de luminância e crominance.Também inclui funções como Detecção de Macrovision e Recuperação de dados VBI.
Para vídeo componente, o Processador de componentes é responsável por operações como Ganhe controle, Assim, Correção de deslocamento, e Pico ativo e AGC Ajustes.Inclui Cgms e Macrovision Detecção de dados para conformidade com a proteção de cópias.Além disso, existe Conversão de espaço de cores para se adaptar Ycbcr ou Rgb sinais para o formato de saída necessário.Todos os sinais processados convergem no Saída FIFO e Formatador, onde estão alinhados, formatados e sincronizados antes de serem produzidos como dados de pixels digitais juntamente com sinais de sincronização, como Hs, Assim, Vs., Assim, Campo/de, e outros.O diagrama também mostra suporte para DVI ou HDMI entrada através de uma porta digital de 8 bits e incorporada Serial Controle de interface para comunicação e configuração.
|
Tipo |
Parâmetro |
|
Fabricante |
Analog Devices Inc. |
|
Embalagem |
Bandeja |
|
Status da peça |
Ativo |
|
Função |
Decodificador, digitalizador |
|
Aplicações |
Vídeo do consumidor |
|
Padrões |
ITU-R BT.656, NTSC, PAL, Secam |
|
Interface de controle |
Serial |
|
Tensão - suprimento |
1.65V ~ 3,6V |
|
Tipo de montagem |
Montagem na superfície |
|
Pacote / caso |
100-lqfp |
|
Pacote de dispositivo de fornecedor |
100-LQFP (14x14) |
|
Número do produto base |
Adv7401 |
TVs de alta definição (HDTVs)
O ADV7401KSTZ-140 é usado em vários tipos de HDTVs, incluindo modelos LCD, DLP ™, plasma e CRT, para decodificar e processar uma ampla gama de sinais de vídeo.Sua capacidade de lidar com vários padrões e formatos de transmissão o torna um componente importante para garantir ampla compatibilidade e saída de vídeo de alta qualidade na tecnologia de televisão.
Projetores
Este decodificador de vídeo é parte integrante dos projetores LCD e DLP, onde aprimora os recursos de processamento de vídeo.Ele permite que os projetores renderizem com precisão o conteúdo de alta resolução, tornando-o ideal para configurações de home theater e ambientes de apresentação profissional.
Caixas de configuração (STBs) com gravador de vídeo pessoal (PVR)
Nas caixas decodificadas, o ADV7401KSTZ-140 facilita a decodificação de vários formatos de vídeo, para visualizar e gravar conteúdo de diferentes fontes.Esse recurso suporta a funcionalidade dos gravadores de vídeo pessoais, opções flexíveis de visualização e gravação.
Receptores de áudio-video (AVRs)
O chip aprimora os receptores de áudio-video, integrando recursos robustos de decodificação de vídeo ao gerenciamento de áudio.Essa integração é boa para AVRs usados em sistemas de entretenimento doméstico, proporcionando uma experiência perfeita de áudio e vídeo em um único dispositivo.
Conversores de varredura multiformat
O ADV7401KSTZ-140 é usado em conversores de varredura Multiformat para ajudar na conversão de sinais de vídeo entre vários formatos e resoluções.Este aplicativo é ótimo para garantir a compatibilidade e manter a qualidade do vídeo em diferentes tecnologias e padrões de exibição.
Gravadores de DVD com suporte de entrada de varredura progressiva
Nos gravadores de DVD, o ADV7401KSTZ-140 desempenha uma função ao decodificar e digitalizar sinais de vídeo recebidos, suportando entradas progressivas de varredura.Esse recurso permite que os gravadores de DVD capturem e armazenem conteúdo de vídeo de alta qualidade, aprimorando a qualidade geral da gravação.
1. Selecione o modo primário apropriado (prim_mode) e o padrão de vídeo (vid_std): O modo primário e a seleção padrão de vídeo são importantes, pois determina como o ADV7401KSTZ-140 interpreta o sinal de vídeo recebido.O registro prim_mode identifica o formato primário da entrada de vídeo (por exemplo, NTSC, PAL), enquanto o registro vid_std especifica os detalhes padrão (por exemplo, 525i, 625i).A definição desses registros garante corretamente que o decodificador de vídeo possa lidar com os atributos específicos do sinal de entrada, como taxa de quadros e resolução.
2. Configure o relógio de trava (latch_clk): A configuração do relógio de trava é importante para sincronizar o processamento dos dados de vídeo.Ao programar o registro latch_clk, você ajusta o tempo da trava de dados para corresponder à frequência do relógio do pixel do vídeo de entrada.Esta etapa é importante para garantir que o decodificador de vídeo capte e processe corretamente cada pixel no momento certo, evitando problemas de tempo ou corrupção de dados.
3. Defina a proporção do divisor de PLL: Esta etapa envolve definir manualmente a proporção de divisor PLL (loop bloqueado de fase) para gerar a saída correta do relógio de pixel a partir de uma determinada frequência de entrada.Ao ativar o controle manual (PLL_DIV_MAN_EN) e programar o PLL_DIV_RATIO, você pode ajustar o relógio de pixel de saída para atender às necessidades específicas do seu sistema de exibição ou processamento adicional.Esse controle preciso é bom para manter a integridade e a sincronização do sinal em sua cadeia de processamento de vídeo.
4. Configurar as configurações da faixa de VCO e da bomba de carga PLL: Configurando a faixa VCO (oscilador controlado por voltagem) e ajuste a bomba de carga PLL são importantes para estabilizar a frequência do relógio de pixel gerado.Os registros VCO_RANGE e PLL_QPUMP permitem otimizar o desempenho do PLL sob várias condições operacionais, garantindo que o relógio de saída permaneça estável e dentro das especificações necessárias para decodificação de vídeo confiável.
5. Defina o comprimento da linha de corrida livre (FR_LL): Em situações em que a entrada de vídeo é perdida ou interrompida, a configuração de comprimento da linha livre ajuda a manter uma saída consistente especificando o comprimento da linha no modo de corrida livre.Ao calcular e definir o registro FR_LL com base no período de linha esperado, o ADV7401KSTZ-140 pode continuar produzindo quadros de vídeo com tempo correto, o que é bom para aplicativos que requerem uma presença em vídeo constante.
Compatibilidade do formato versátil
O ADV7401KSTZ-140 se destaca por sua capacidade de suportar uma ampla variedade de padrões de vídeo, incluindo NTSC, PAL, Secam e formatos de alta definição, como 720p e 1080i.Ele pode lidar com gráficos RGB até a resolução do SXGA.Essa ampla compatibilidade permite utilizar o chip em diversas aplicações sem se preocupar com restrições de formato.
Processamento de vídeo de alta qualidade
Equipado com quatro ADCs de 10 bits que podem provar até 140 MHz, o ADV7401KSTZ-140 garante processamento de vídeo de alta qualidade.Esse recurso permite capturar e converter sinais de vídeo com maior clareza e precisão de cores, fornecendo reprodução de vídeo superior.Isso é benéfico nas aplicações em que a qualidade do vídeo é importante, como imagens médicas, transmissão de alta definição e sistemas de vigilância de segurança.
Design simplificado do sistema
Ao integrar as funcionalidades de decodificação de vídeo e gráficos RGB em um único chip, o ADV7401KSTZ-140 simplifica o design geral do sistema.Essa integração reduz o número de componentes necessários na fase de projeto, levando à economia de custos em termos de materiais e montagem.Também aumenta a confiabilidade do sistema devido a menos interconexões e pontos potenciais de falha, tornando -o uma solução eficiente para sistemas multimídia complexos.
Opções de saída flexíveis
O dispositivo oferece interfaces de saída flexíveis, capazes de suportar os formatos de pixel de pixel de 12 bits 4: 4: 4 e 8 Bits 4: 2: Double Data Take (DDR).Essa flexibilidade permite personalizar o formato de saída com base em seus requisitos específicos de aplicativos, se eles precisam de alta fidelidade de cores para sinalização digital ou formatos de pixel otimizados para interfaces de vídeo.Essa adaptabilidade garante que o ADV7401KSTZ-140 possa ser efetivamente usado em vários usos finais.
Desempenho confiável em várias condições
Projetado para operar dentro de uma faixa de temperatura industrial de -40 ° C a +85 ° C, o ADV7401KSTZ-140 é construído para executar de maneira confiável em uma ampla variedade de condições ambientais.Essa robustez o torna adequado para uso em aplicações ao ar livre, ambientes industriais e outros cenários em que as flutuações de temperatura são uma preocupação.Você pode confiar no dispositivo para manter um desempenho consistente, independentemente dos desafios térmicos que possam surgir em ambientes operacionais.
|
Parâmetro |
Dimensão (mm) |
|
Tamanho do corpo (típico) |
14,00 × 14,00 |
|
Tamanho do corpo (min - máximo) |
13.80 - 14.20 |
|
Span de chumbo total (min - máximo) |
15.80 - 16.20 |
|
Altura do pacote (máximo) |
1.6 |
|
Altura corporal (min - max) |
1.35 - 1,45 |
|
Largura do chumbo (min - max) |
0,17 - 0,27 |
|
Tom de chumbo (espaçamento básico) |
0,5 |
|
Altura do stafff de chumbo |
0,05 - 0,15 |
|
Faixa de ângulo de chumbo |
0 ° - 7 ° |
|
Coplanaridade principal (máximo) |
0,08 |

O ADV7401KSTZ-140 é um sofisticado decodificador de vídeo multifales e digitalizador gráfico que é fabricado por Analog Devices Inc., um líder de renome na indústria de semicondutores.Conhecidos por sua inovação e confiabilidade, os dispositivos analógicos são especializados no desenvolvimento e produção de uma ampla variedade de circuitos integrados para aplicações de processamento de sinais.A experiência da empresa garante que o ADV7401KSTZ-140 seja capaz de fornecer decodificação em vídeo de alto desempenho, suportando uma variedade de formatos de vídeo e padrões para aplicações multimídia.
O ADV7401KSTZ-140 se destaca como uma solução robusta e flexível para exigir tarefas de processamento de sinal de vídeo.Com suporte para vários padrões de vídeo global, digitalização RGB de alta resolução, formatos de saída programáveis e operação entre as faixas de temperatura industrial, ele oferece confiabilidade e desempenho em ambientes de consumidor e profissional.Seja para melhorar os sistemas multimídia, simplificar a arquitetura do design ou garantir a compatibilidade em vários formatos, esse decodificador/digitalizador oferece benefícios.O ADV7401KSTZ-140 continua sendo um componente versátil e pronto para o futuro para aplicativos de vídeo integrados.
Por favor, envie uma consulta, responderemos imediatamente.
O ADV7401KSTZ-140 se diferencia com sua combinação de 4 ADCs de 10 bits de alta velocidade operando a 140 MHz, suporte para resoluções SXGA e sua capacidade de processar sinais gráficos de vídeo e RGB.Ele também integra conversão avançada de espaço de cores, detecção de macrovision e interfaces flexíveis de saída, tornando-o ideal para aplicações que precisam de qualidade e adaptabilidade.
Não diretamente.O ADV7401KSTZ-140 não possui um receptor HDMI nativo, mas pode aceitar entradas digitais por meio de sua porta de entrada digital de 24 bits de um IC de receptor HDMI ou DVI externo, como os dispositivos analógicos Adv7611.Isso permite que você coloque as fontes HDMI em seu sistema usando esse chip de maneira eficaz.
Nenhuma memória adicional é necessária para tarefas básicas de decodificação, mas, dependendo da sua arquitetura do sistema, pode ser necessário um microcontrolador ou processador host para configurar o chip via I²C e lidar com dados de vídeo processados.Em sistemas de ponta, geralmente é combinado com FPGAs ou DSPs para processamento adicional.
Embora o valor exato dependa da sua configuração e uso dos ADCs e portas de saída, a dissipação de energia típica varia entre 0,8 W e 1,2 W sob carga total.Sempre consulte as diretrizes da folha de dados e do design térmico para garantir a dissipação adequada do calor.
Sim.O ADV7401KSTZ-140 suporta detecção padrão automática de vídeo nos entradas NTSC, PAL e Secam.Usando seus registros de detecção automática, seu sistema pode alternar dinamicamente entre formatos sem intervenção do usuário, ideal para ambientes multiformes.
em 03/04/2025
em 03/04/2025
em 18/04/8000 147761
em 18/04/2000 111984
em 18/04/1600 111351
em 18/04/0400 83743
em 01/01/1970 79538
em 01/01/1970 66948
em 01/01/1970 63087
em 01/01/1970 63028
em 01/01/1970 54092
em 01/01/1970 52171